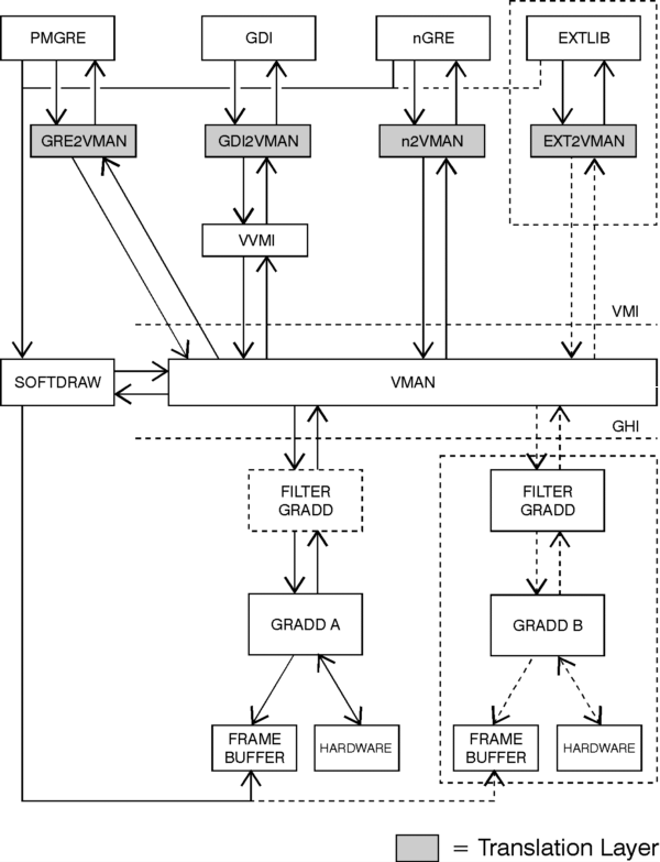
This chapter describes the individual components of the Graphics ADapter Device (GRADD) driver model used for developing device drivers.
The GRADD model is composed of several components that coordinate the communication among each graphic subsystem and the available graphics hardware. The components include the following:
Video Manager (VMAN)
The VMAN component binds the GRADD model components
together. VMAN synchronizes the communication
between translation layers and a GRADD and also
manages the graphics pointer.
When an operating system service requests a graphics
operation, the associated translation layer sends one
of the defined Video Manager Interface (VMI) commands
to VMAN. On receiving a VMI command, VMAN either
handles the request or sends it down to the
appropriate GRADD. For more information about VMAN,
refer to Video Manager (VMAN).
Translation Layers
A translation layer exists for each graphics engine
in OS/2 Warp. The translation layer converts the
function calls made by the graphics engine to the VMI
protocol required by VMAN. For more information
about transition layers, refer to Translation Layers.
SOFTDRAW
SOFTDRAW is the default for any simulated graphics
functions for nonaccelerated graphics operations.
Acting as a graphics library, SOFTDRAW exports the
base drawing functions (SDBitBlt and SDLine) used by
VMAN to simulate graphics operations. SOFTDRAW
provides a generic graphics library. Given a pointer
to a linear address (a VRAM bit map or system-memory
bit map), SOFTDRAW can draw the bits directly into
the bit map.
Graphics Adapter Device Driver
The GRADDs represent the available video hardware.
They execute the requested operation or returns it
for simulation.
When a GRADD receives a GHI function call from VMAN
that is not mandatory, the GRADD has the option of
performing the requested operation or returning the
request to VMAN with a return code of RC_SIMULATE.
The RC_SIMULATE return code informs VMAN that the
operation needs to be simulated in software. For
more information about GRADDs, refer to Graphics
Adapter Device Driver (GRADD).
The following figure graphically illustrates the components of the GRADD model.
